格鲁夫配件
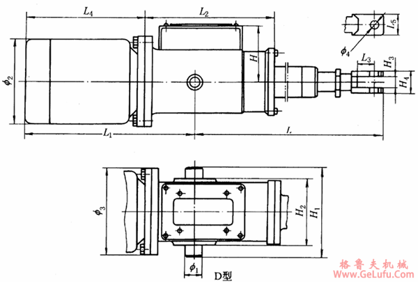
DG型电动推杆D型外形尺寸 QQ:47447450
格鲁夫齿轮箱
|
D
型 |
额定推力 |
额定行程/mm |
速度
/mm・s-1 |
L |
L1 |
L2 |
L3 |
L4 |
L5 |
H |
H1 |
H2 |
H3 |
H4 |
ψ1 |
ψ2 |
ψ3 |
ψ4 |
电动机型号M/K |
重量/kg |
|
50kgf(0.49kN) |
200 |
M:47
K:94 |
314 |
225 |
167 |
16 |
145 |
30 |
91 |
136 |
106 |
10 |
30 |
20 |
86 |
110 |
8 |
M:YZA5034
60W 0.30A
K:YZA5032
90W 0.31A |
12 | |
|
400 |
514 |
225 |
167 |
16 |
145 |
30 |
91 |
136 |
106 |
10 |
30 |
20 |
86 |
110 |
8 |
14 | ||||
|
600 |
714 |
225 |
167 |
16 |
145 |
30 |
91 |
136 |
106 |
10 |
30 |
20 |
86 |
110 |
8 |
16 | ||||
|
800 |
914 |
225 |
167 |
16 |
145 |
30 |
91 |
136 |
106 |
10 |
30 |
20 |
86 |
110 |
8 |
18 | ||||
|
100kgf(0.98kN) |
200 |
M:47
K:94 |
432 |
300 |
212 |
30 |
223 |
38 |
93 |
156 |
116 |
20 |
40 |
25 |
148 |
150 |
15 |
M,K:
YZA7124
370W 1.12A |
16 | |
|
400 |
632 |
300 |
212 |
30 |
223 |
38 |
93 |
156 |
116 |
20 |
40 |
25 |
148 |
150 |
15 |
18 | ||||
|
600 |
832 |
300 |
212 |
30 |
223 |
38 |
93 |
156 |
116 |
20 |
40 |
25 |
148 |
150 |
15 |
20 | ||||
|
800 |
1032 |
300 |
212 |
30 |
223 |
38 |
93 |
156 |
116 |
20 |
40 |
25 |
148 |
150 |
15 |
22 | ||||
|
200kgf(1.96kN) |
200 |
M:47
K:94 |
432 |
313 |
212 |
30 |
236 |
38 |
93 |
156 |
116 |
20 |
40 |
25 |
148 |
150 |
15 |
M:YZA7134
550W 1.57A |
18 | |
|
400 |
632 |
313 |
212 |
30 |
236 |
38 |
93 |
156 |
116 |
20 |
40 |
25 |
148 |
150 |
15 |
20 | ||||
|
600 |
832 |
313 |
212 |
30 |
236 |
38 |
93 |
156 |
116 |
20 |
40 |
25 |
148 |
150 |
15 |
22 | ||||
|
800 |
1032 |
313 |
212 |
30 |
236 |
38 |
93 |
156 |
116 |
20 |
40 |
25 |
148 |
150 |
15 |
24 | ||||
|
300kgf(2.94kN) |
200 |
M:47
K:94 |
432 |
313 |
212 |
30 |
236 |
38 |
93 |
156 |
116 |
20 |
40 |
25 |
148 |
150 |
15 |
M:YZA7134
550W 1.57A |
20 | |
|
400 |
632 |
313 |
212 |
30 |
236 |
38 |
93 |
156 |
116 |
20 |
40 |
25 |
148 |
150 |
15 |
22 | ||||
|
600 |
832 |
313 |
212 |
30 |
236 |
38 |
93 |
156 |
116 |
20 |
40 |
25 |
148 |
150 |
15 |
24 | ||||
|
800 |
1032 |
313 |
212 |
30 |
236 |
38 |
93 |
156 |
116 |
20 |
40 |
25 |
148 |
150 |
15 |
26 | ||||
|
500kgf(4.90kN) |
200 |
M:45.5
K:70 |
438 |
437 |
312 |
38 |
285 |
50 |
108 |
170 |
130 |
25 |
47 |
30 |
175 |
200 |
17 |
M:Y90L-6
1.1W 3.2A
K:Y90L-4
1.5kW 3.75A |
24 | |
|
400 |
638 |
437 |
312 |
38 |
285 |
50 |
108 |
170 |
130 |
25 |
47 |
30 |
175 |
200 |
17 |
26 | ||||
|
600 |
838 |
437 |
312 |
38 |
285 |
50 |
108 |
170 |
130 |
25 |
47 |
30 |
175 |
200 |
17 |
28 | ||||
|
800 |
1038 |
437 |
312 |
38 |
285 |
50 |
108 |
170 |
130 |
25 |
47 |
30 |
175 |
200 |
17 |
30 |
Mobile:13331225020