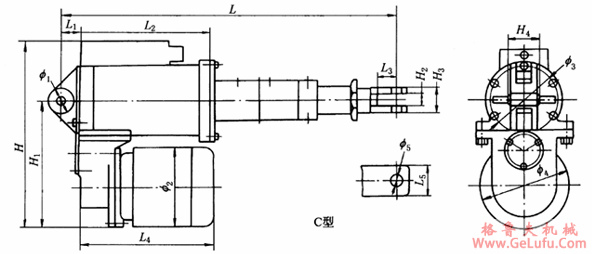
DG型电动推杆C型外形尺寸
发布日期:2023-12-28 20:43
浏览次数:
格鲁夫机械
DG型电动推杆C型外形尺寸 微信:grove_company
mail:china@gelufu.com
|
C
型 |
额定推力 |
额定行程
/mm |
速度
/mm・s-1 |
L |
L1 |
L2 |
L3 |
L4 |
L5 |
H |
H1 |
H2 |
H3 |
H4 |
ψ1 |
ψ2 |
ψ3 |
ψ4 |
ψ5 |
电动机型号
M/K |
重量
/kg |
|
250kgf(2.45kN) |
200 |
M:44
K:88 |
521 |
25 |
205 |
30 |
223 |
40 |
306 |
215 |
20 |
40 |
20 |
16 |
112 |
145 |
140 |
16 |
M:YZA5624
120W 0.47A
K:YZA5632
250W 0.68A |
32 |
|
400 |
721 |
25 |
205 |
30 |
223 |
40 |
306 |
215 |
20 |
40 |
20 |
16 |
112 |
145 |
140 |
16 |
34 |
|
600 |
921 |
25 |
205 |
30 |
223 |
40 |
306 |
215 |
20 |
40 |
20 |
16 |
112 |
145 |
140 |
16 |
36 |
|
800 |
1121 |
25 |
205 |
30 |
223 |
40 |
306 |
215 |
20 |
40 |
20 |
16 |
112 |
145 |
140 |
16 |
38 |
|
300kgf(2.94kN) |
200 |
M:37
K:74 |
530 |
30 |
203 |
30 |
289 |
40 |
299 |
203 |
20 |
40 |
24 |
15 |
148 |
122 |
128 |
15 |
M:YZA7134
550W 1.57A
K:YZA7132
750W 1.82A |
34 |
|
400 |
730 |
30 |
203 |
30 |
289 |
40 |
299 |
203 |
20 |
40 |
24 |
15 |
148 |
122 |
128 |
15 |
38 |
|
600 |
930 |
30 |
203 |
30 |
289 |
40 |
299 |
203 |
20 |
40 |
24 |
15 |
148 |
122 |
128 |
15 |
42 |
|
800 |
1130 |
30 |
203 |
30 |
289 |
40 |
299 |
203 |
20 |
40 |
24 |
15 |
148 |
122 |
128 |
15 |
46 |
|
500kgf(4.90kN) |
400 |
M:45
K:90 |
793 |
45 |
270 |
38 |
325 |
50 |
400 |
280 |
25 |
47 |
26 |
20 |
165 |
174 |
200 |
17 |
M:Y802-4
750W 2A
K:Y802-2
1.1kW 2.6A |
56 |
|
600 |
993 |
45 |
270 |
38 |
325 |
50 |
400 |
280 |
25 |
47 |
26 |
20 |
165 |
174 |
200 |
17 |
60 |
|
800 |
1193 |
45 |
270 |
38 |
325 |
50 |
400 |
280 |
25 |
47 |
26 |
20 |
165 |
174 |
200 |
17 |
64 |
|
1000 |
1393 |
45 |
270 |
38 |
325 |
50 |
400 |
280 |
25 |
47 |
26 |
20 |
165 |
174 |
200 |
17 |
70 |
|
1000kgf(9.80kN) |
400 |
M:45
K:90 |
923 |
126 |
310 |
56 |
372 |
54 |
434 |
300 |
35 |
65 |
70 |
30 |
175 |
208 |
200 |
18 |
M:Y90L-4
1.5kW 3.7A
K:Y90L-2
2.2kW 4.7A |
125 |
|
600 |
1123 |
126 |
310 |
56 |
372 |
54 |
434 |
300 |
35 |
65 |
70 |
30 |
175 |
208 |
200 |
18 |
135 |
|
800 |
1323 |
126 |
310 |
56 |
372 |
54 |
434 |
300 |
35 |
65 |
70 |
30 |
175 |
208 |
200 |
18 |
145 |
|
1000 |
1523 |
126 |
310 |
56 |
372 |
54 |
434 |
300 |
35 |
65 |
70 |
30 |
175 |
208 |
200 |
18 |
155 |
|
2000kgf(19.6kN) |
400 |
M:51
K:102 |
924 |
126 |
310 |
56 |
405 |
54 |
484 |
350 |
35 |
65 |
70 |
30 |
205 |
208 |
250 |
20 |
M:Y100L1-4
2.2kW 5A
K:Y100L-2
3kW 6.4A |
135 |
|
600 |
1124 |
126 |
310 |
56 |
405 |
54 |
484 |
350 |
35 |
65 |
70 |
30 |
205 |
208 |
250 |
20 |
145 |
|
800 |
1324 |
126 |
310 |
56 |
405 |
54 |
484 |
350 |
35 |
65 |
70 |
30 |
205 |
208 |
250 |
20 |
155 |
|
1000 |
1524 |
126 |
310 |
56 |
405 |
54 |
484 |
350 |
35 |
65 |
70 |
30 |
205 |
208 |
250 |
20 |
165 |
|
3000kgf(29.4kN) |
400 |
M:34.5
K:51 |
924 |
126 |
310 |
56 |
427/405 |
54 |
484 |
350 |
35 |
65 |
70 |
30 |
230/205 |
208 |
250 |
20 |
M:Y112M-6
2.2kW 5.6A
K:Y100L2-4
3kW 6.8A |
145 |
|
600 |
1124 |
126 |
310 |
56 |
427/405 |
54 |
484 |
350 |
35 |
65 |
70 |
30 |
230/205 |
208 |
250 |
20 |
155 |
|
800 |
1324 |
126 |
310 |
56 |
427/405 |
54 |
484 |
350 |
35 |
65 |
70 |
30 |
230/205 |
208 |
250 |
20 |
165 |
|
1000 |
1524 |
126 |
310 |
56 |
427/405 |
54 |
484 |
350 |
35 |
65 |
70 |
30 |
230/205 |
208 |
250 |
20 |
175 |
|
4000kgf(39.2kN) |
400 |
M:25.3
K:37.9 |
1067 |
126 |
238 |
80 |
496 |
80 |
554 |
414 |
50 |
100 |
70 |
40 |
270 |
290 |
300 |
30 |
M:Y132S-6
3kW 7.2A
K:Y132S-4
5.5kW 11.6A |
165 |
|
600 |
1267 |
126 |
238 |
80 |
496 |
80 |
554 |
414 |
50 |
100 |
70 |
40 |
270 |
290 |
300 |
30 |
180 |
|
800 |
1467 |
126 |
238 |
80 |
496 |
80 |
554 |
414 |
50 |
100 |
70 |
40 |
270 |
290 |
300 |
30 |
195 |
|
1000 |
1667 |
126 |
238 |
80 |
496 |
80 |
554 |
414 |
50 |
100 |
70 |
40 |
270 |
290 |
300 |
30 |
210 | |
|