电话:0312-6784766
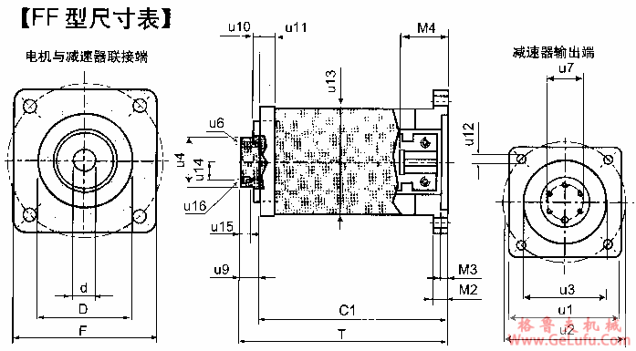
RDS减速机FF型尺寸表
Mobile:13331225020
mail:china@gelufu.com
|
|
规格 |
| ||||
|
55 |
75 |
90 |
120 |
155 | ||
|
u1 |
60×60 |
75×75 |
90×90 |
120×120 |
155×155 | |
|
u2 |
70 |
87.5 |
110 |
140 |
180 | |
|
u3 |
35h7 |
52h7 |
68h7 |
90h7 |
120h7 | |
|
u4 |
17f7 |
30f7 |
40f7 |
50f7 |
65f7 | |
|
u6 |
M4×8(3×90°) |
M5×12(5×60°) |
M6×12(5×60°) |
M8×14(5×60°) |
M10×18(5×60°) | |
|
u7 |
10 |
21 |
28 |
36 |
40 | |
|
u9 |
8.5 |
10.5 |
12.5 |
14 |
21 | |
|
u10 |
3.5 |
3.5 |
5 |
6 |
7 | |
|
u11 |
10 |
17 |
18 |
24 |
20 | |
|
u12 |
5.5 |
6 |
6.5 |
9 |
11 | |
|
u13 |
56 |
75 |
90 |
120 |
155 | |
|
u14 |
5±0.015 |
10.5±0.015 |
14±0.015 |
18±0.015 |
20±0.015 | |
|
u15 |
6 |
7 |
7 |
12 |
15 | |
|
u16 |
4J6 |
5J6 |
6J6 |
8J6 |
10J6 | |
|
C1 |
96.5 |
108 |
139 |
172.5 |
204.5 |
1级 |
|
116.5 |
135 |
171 |
210 |
240 |
2级 | |
|
M2 |
12 |
12 |
12 |
15 |
18 |
|
|
M3 |
4 |
4 |
4.5 |
5 |
4.5 | |
|
M4 |
32 |
35 |
50 |
60 |
80 | |
|
F |
90×90max |
116×116max |
140×140max |
140×140max |
190×190max | |
|
T |
105 |
118.5 |
151.5 |
186.5 |
225.5 |
1级 |
|
125 |
142 |
183.5 |
244 |
261 |
2级 | |
|
dH7 |
min6 |
min9 |
min11 |
min19 |
min19 |
根据电
机配置 |
|
max11 |
max14 |
max24 |
max32 |
max38 | ||
|
Dh6 |
min38 |
min45 |
min60 |
min80 |
min90 | |
|
max80 |
max110 |
max130 |
max130 |
max180 | ||