Mobile:13331225020
格鲁夫齿轮箱

|
型号 |
扭力
Tonf-M |
最高
回转数
RPM |
最大
孔径
mm |
最小
孔径
mm |
重量
kg |
润滑油
重量
g |
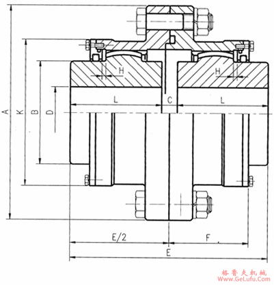
尺 寸 mm | |||||||
|
L |
C |
E |
A |
B |
F |
K |
H | |||||||
|
250 |
15.3 |
1650 |
250 |
165 |
300 |
2600 |
224 |
22 |
470 |
462 |
330 |
148 |
422 |
6 |
|
285 |
22.4 |
1500 |
285 |
190 |
470 |
3800 |
250 |
22 |
522 |
530 |
380 |
158 |
470 |
6 |
|
320 |
31.8 |
1200 |
320 |
215 |
680 |
4600 |
280 |
28 |
588 |
590 |
430 |
177 |
522 |
8 |
|
365 |
48 |
1200 |
365 |
245 |
1050 |
6700 |
315 |
28 |
658 |
650 |
490 |
182 |
582 |
8 |
|
400 |
67 |
1050 |
400 |
270 |
1500 |
9400 |
355 |
28 |
738 |
738 |
540 |
215 |
658 |
8 |