电话:0312-6784766
邮箱:china@gelufu.com
格鲁夫
|
型号 |
公称转
矩Tn
/N・m |
许用转
速[n]/
r・min-1 |
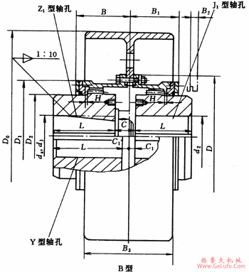
轴孔直径 |
轴孔长度L |
D0 |
D |
D1 |
D2 |
C |
C1 |
H |
B |
B1 |
B2 |
B3 |
润滑脂用量/mL |
质量
m/kg |
转动惯
量I/
kg・m2 | ||
|
dZ |
d1、d2 |
Y |
J1、Z1 | |||||||||||||||||
|
NGCL1 |
355 |
4000 |
20~35 |
20、22、24 |
52 |
38 |
160 |
103 |
71 |
50 |
30 |
8 |
2 |
56 |
42 |
38 |
68 |
51 |
7 |
0.07 |
|
25、28 |
62 |
44 |
7.3 |
0.07 | ||||||||||||||||
|
30、32、35 |
82 |
60 |
8 |
0.071 | ||||||||||||||||
|
NGCL2 |
630 |
4000 |
25~45 |
25、28 |
62 |
44 |
160 |
115 |
83 |
60 |
36 |
8 |
2 |
68 |
48 |
42 |
68 |
70 |
9 |
0.079 |
|
30、32、35、38 |
82 |
60 |
9.7 |
0.08 | ||||||||||||||||
|
40、42、45 |
112 |
84 |
11 |
0.083 | ||||||||||||||||
|
NGCL3 |
1000 |
3800 |
30~55 |
28 |
62 |
44 |
200 |
127 |
95 |
75 |
41 |
8 |
2 |
70 |
49 |
42 |
85 |
107 |
14.6 |
0.181 |
|
30、32、35、38 |
82 |
60 |
15.2 |
0.184 | ||||||||||||||||
|
40、42、45、48、50、55、56 |
112 |
84 |
17 |
0.187 | ||||||||||||||||
|
NGCL4 |
1600 |
3800 |
40~65 |
38 |
82 |
60 |
200 |
149 |
116 |
90 |
41 |
8 |
2 |
74 |
53 |
42 |
85 |
137 |
18.6 |
0.225 |
|
40、42、45、48、50、55、56 |
112 |
84 |
21.4 |
0.237 | ||||||||||||||||
|
60、63、65 |
142 |
107 |
23.8 |
0.246 | ||||||||||||||||
|
NGCL5 |
2800 |
3000 |
45~75 |
40、42、45、48、50、55、56 |
112 |
84 |
250 |
167 |
134 |
105 |
48 |
8 |
2.5 |
84 |
58 |
42 |
105 |
201 |
31.8 |
0.58 |
|
60、63、65、70、71、75 |
142 |
107 |
34.4 |
0.609 | ||||||||||||||||
|
NGCL6 |
4500 |
3000 |
50~90 |
45、48、50、55、56 |
112 |
84 |
250 |
187 |
153 |
125 |
49 |
9 |
2.5 |
85 |
59 |
42 |
105 |
238 |
37.2 |
0.714 |
|
60、63、65、70、71、75 |
142 |
107 |
38.5 |
0.754 | ||||||||||||||||
|
80、85、90 |
172 |
132 |
47.6 |
0.795 | ||||||||||||||||
|
NGCL7 |
6300 |
2400 |
60~100 |
50、55、56 |
112 |
84 |
315
(300) |
204 |
170 |
140 |
53 |
9 |
2.5 |
93 |
63 |
42 |
132 |
298 |
48.8 |
1.17 |
|
60、63、65、70、71、75 |
142 |
107 |
55.2 |
1.234 | ||||||||||||||||
|
80、85、90、95 |
172 |
132 |
61.8 |
1.299 | ||||||||||||||||
|
100 |
212 |
167 |
71.1 |
1.388 | ||||||||||||||||
|
NGCL8 |
9000 |
1900 |
70~110 |
55、56 |
112 |
84 |
400 |
230 |
186 |
155 |
64 |
12 |
3 |
112 |
77 |
47 |
168 |
465 |
80.7 |
3.747 |
|
60、63、65、70、71、75 |
142 |
107 |
90 |
3.841 | ||||||||||||||||
|
80、85、90、95 |
172 |
132 |
96.5 |
3.939 | ||||||||||||||||
|
100、110 |
212 |
167 |
108 |
4.072 | ||||||||||||||||
|
NGCL9 |
14000 |
1500 |
80~130 |
60、63、65、70、71、75 |
142 |
107 |
500 |
256 |
212 |
180 |
71 |
13 |
3 |
119 |
80 |
47 |
210 |
561 |
128 |
9.427 |
|
80、85、90、95 |
172 |
132 |
138 |
9.605 | ||||||||||||||||
|
100、110、120、125 |
212 |
167 |
151 |
9.847 | ||||||||||||||||
|
130 |
252 |
202 |
167 |
10.109 | ||||||||||||||||
|
NGCL10 |
20000 |
1200 |
80~150 |
65、70、71、75 |
142 |
107 |
630
(600) |
287 |
239 |
200 |
65 |
15 |
3.5 |
120 |
90 |
47 |
265 |
734 |
176 |
28.238 |
|
80、85、90、95 |
172 |
132 |
190 |
28.509 | ||||||||||||||||
|
100、110、120、125 |
212 |
167 |
209 |
28.879 | ||||||||||||||||
|
130、140、150 |
252 |
202 |
237 |
29.248 | ||||||||||||||||
|
NGCL11 |
31500 |
1050 |
100~170 |
70、71、75 |
142 |
107 |
710
(700) |
325 |
276 |
235 |
77 |
16 |
3.5 |
134 |
94 |
47 |
298 |
956 |
257 |
44.309 |
|
80、85、90、95 |
172 |
132 |
275 |
44.825 | ||||||||||||||||
|
100、110、120、125 |
212 |
167 |
300 |
45.53 | ||||||||||||||||
|
130、140、150 |
252 |
202 |
326 |
46.235 | ||||||||||||||||
|
160、170 |
302 |
242 |
357 |
47.08 | ||||||||||||||||
|
NGCL12 |
45000 |
1050 |
100~200 |
75 |
142 |
107 |
710
(700) |
362 |
313 |
270 |
94 |
17 |
4 |
164 |
104 |
49 |
298 |
1320 |
306 |
47.88 |
|
80、85、90、95 |
172 |
132 |
317 |
48.29 | ||||||||||||||||
|
100、110、120、125 |
212 |
167 |
351 |
49.52 | ||||||||||||||||
|
130、140、150 |
252 |
202 |
384 |
50.25 | ||||||||||||||||
|
160、170、180 |
302 |
242 |
425 |
52.22 | ||||||||||||||||
|
190、200 |
352 |
282 |
464 |
53.69 | ||||||||||||||||
|
NGCL13 |
63000 |
950 |
150~220 |
150 |
252 |
202 |
800 |
412 |
350 |
300 |
88 |
18 |
4.5 |
165 |
113 |
49 |
335 |
1600 |
490 |
82.7 |
|
160、170、180 |
302 |
242 |
544 |
84.7 | ||||||||||||||||
|
190、200、220 |
352 |
282 |
596 |
86.67 | ||||||||||||||||
|
NGCL14 |
100000 |
950 |
170~220 |
170、180 |
302 |
242 |
800 |
462 |
420 |
335 |
92 |
20 |
5.5 |
209 |
157 |
63 |
335 |
3500 |
670 |
99.1 |
|
190、200、220 |
352 |
282 |
736 |
102.2 | ||||||||||||||||
|
240、250 |
410 |
330 |
785 |
105.9 | ||||||||||||||||
Mobile:13331225020
QQ:47447450