gelufu.com
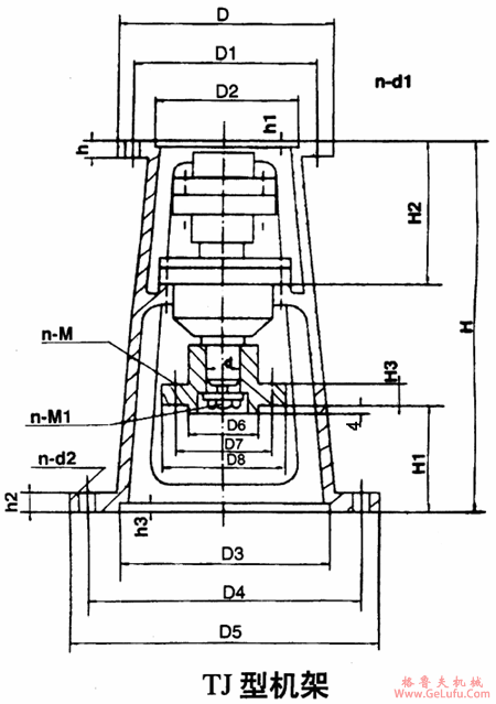
TJ机架安装尺寸 手机:13331225020
格鲁夫丝杆升降机
|
机架
型号 |
减速机
型号 |
输入端接口 |
输出端接口 |
H |
H1 |
H2 |
H3 |
d |
D6 |
D7 |
D8 |
n-M |
n-M1 | ||||||||||
|
D |
D1 |
D2 |
h |
h1 |
h-d1 |
D3 |
D4 |
D5 |
h2 |
h3 |
n-d2 | ||||||||||||
|
TJ2 |
B1 |
230 |
200 |
170 |
18 |
5 |
6―12 |
250 |
300 |
335 |
20 |
7 |
4―24 |
496 |
190 |
175 |
15 |
35 |
60 |
115 |
140 |
4―M12 |
1―M10 |
|
TJ3 |
B2 |
260 |
230 |
200 |
20 |
6 |
6―13.5 |
295 |
350 |
392 |
23 |
7 |
4―24 |
568 |
207 |
209 |
20 |
45 |
85 |
120 |
160 |
4―M12 |
1―M12 |
|
TJ3 |
B3 |
340 |
310 |
270 |
20 |
6 |
6―13.5 |
295 |
350 |
392 |
23 |
7 |
4―24 |
568 |
207 |
210 |
20 |
45 |
85 |
120 |
160 |
4―M12 |
1―M12 |
|
TJ4 |
B3 |
340 |
310 |
270 |
20 |
6 |
6―13.5 |
345 |
400 |
442 |
23 |
7 |
4―24 |
635 |
241 |
215 |
22 |
55 |
100 |
150 |
180 |
4―M16 |
1―M16 |
|
TJ6 |
B4 |
400 |
360 |
320
(316) |
22 |
6 |
8―16 |
435 |
500 |
548 |
24 |
7 |
8―30 |
715 |
252 |
253 |
28 |
70 |
110 |
165 |
200 |
4―M16 |
1―M16 |
|
TJ7 |
B5 |
490 |
450 |
400 |
25 |
7 |
12―18 |
440 |
550 |
600 |
26 |
10 |
12―22 |
800 |
208 |
341 |
36 |
90 |
150 |
190 |
230 |
4―M16 |
2―M12 |
|
TJ8 |
B6 |
580 |
520 |
460
455 |
26 |
10 |
12―22 |
500 |
550 |
600 |
28 |
10 |
12―22 |
810 |
199 |
358 |
36 |
100 |
160 |
230 |
280 |
6―M16 |
2―M16 |