QQ:47447450

|
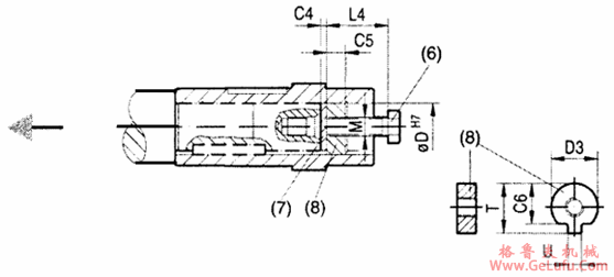
型号 |
DH7
[mm] |
DK
[mm] |
LK2
[mm] |
LX+2
[mm] |
C7
[mm] |
MS
[Nm] |
|
QSKA…37 |
30 |
30 |
89 |
22 |
16 |
20 |
|
QSKA…47 |
35 |
35 |
114 |
28 |
18 |
20 |
|
QSKA…57
QSKA…67 |
40 |
40 |
124
138 |
36 |
18 |
40 |
|
QSKA…77 |
50 |
50 |
165 |
36 |
18 |
40 |
|
QSKA…87 |
60 |
60 |
188 |
42 |
22 |
80 |
|
QSKA…97 |
70 |
70 |
248 |
42 |
22 |
80 |
|
QSKA…107 |
90 |
90 |
287 |
50 |
26 |
200 |
|
QSKA…127 |
100 |
100 |
347 |
50 |
26 |
200 |
|
QSKA…157 |
120 |
120 |
434 |
50 |
26 |
200 |

|
型号 |
DH7
[mm] |
M |
C4
[mm] |
C5
[mm] |
C6
[mm] |
U-0。5
[mm] |
T-0。5
[mm] |
D3-0。5
[mm] |
L4
[mm] |
|
QSKA…37 |
30 |
M10 |
5 |
10 |
25 |
7.5 |
33 |
29.7 |
35 |
|
QSKA…47 |
35 |
M12 |
5 |
12 |
29 |
9.5 |
38 |
34.7 |
45 |
|
QSKA…57
QSKA…67 |
40 |
M16 |
5 |
12 |
34 |
11.5 |
41.9 |
39.7 |
50 |
|
QSKA…77 |
50 |
M16 |
5 |
12 |
43.5 |
13.5 |
53.5 |
49.7 |
50 |
|
QSKA…87 |
60 |
M20 |
5 |
26 |
56 |
17.5 |
64 |
59.7 |
60 |
|
QSKA…97 |
70 |
M20 |
5 |
26 |
65.5 |
19.5 |
74.5 |
69.7 |
60 |
|
QSKA…107 |
90 |
M24 |
5 |
20 |
80 |
24.5 |
95 |
89.7 |
70 |
|
QSKA…127 |
100 |
M24 |
5 |
20 |
89 |
27.5 |
106 |
99.7 |
70 |
|
QSKA…157 |
120 |
M24 |
5 |
20 |
107 |
31 |
127 |
119.7 |
70 |