您好,欢迎进入格鲁夫机械设备制造有限公司官网!
减速机|丝杆升降机|减速电机|行业专用减速机|减速机配件|减速机厂|丝杆升降机厂|转向器厂

联系我们

邮箱:china@gelufu.com
电话:0312-6784766
在线咨询

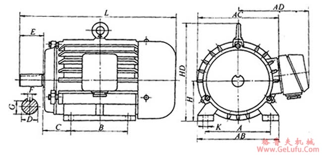
YEJT系列电磁制动三相异步电动机外形尺寸(H80~200mm)

发布日期:2023-12-28 22:06 浏览次数:

YEJT系列电磁制动三相异步电动机外形尺寸(H80~200mm)(图1)

WX:grove_company

YEJT系列电磁制动三相异步电动机外形尺寸(H80~200mm)(图2)

Tel:0312-6784766

中心高
A
B
C
D
E
F
G
H
K
AB
AC
AD
HD
L
80
125
100
50
19
40
6
15.5
80
10
165
165
150
170
370
90S
140
100
56
24
50
8
20
90
10
180
175
155
190
395
90L
140
125
56
24
50
8
20
90
10
180
175
155
190
420
100L
160
140
63
28
60
8
24
100
12
205
205
180
245
480
112M
190
140
70
28
60
8
24
112
12
245
230
190
265
500
132S
216
140
89
38
80
10
33
132
12
280
270
210
315
585
132M
216
178
89
38
80
10
33
132
12
280
270
210
315
625
160M
254
210
108
42
110
12
37
160
15
330
325
255
285
715
160L
245
254
108
42
110
12
37
160
15
330
325
255
385
760

Copyright © 2023-2025 格鲁夫 版权所有 备案号:冀ICP备19023093号-2

电子营业执照图标 电子营业执照
选择语言
Hello,欢迎来咨询~