邮箱:china@gelufu.com



|
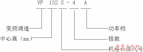
型号 |
电压/V |
频率/Hz |
型号 |
电压/V |
频率/Hz |
|
VF |
135
150
170
300 |
45
50
60
50 |
BJVF |
380 |
50 |
|
VFY |
380 |
50 | |||
|
YTVF-G |
170 |
50 | |||
|
CVF |
330 |
50 |
YTVF-FT |
330 |
50 |
|
BVF |
330
330
380 |
43
50
50 |
YBT |
330 |
43 |
|
YDVF |
380 |
50 | |||
|
5~50① | |||||
|
QVF |
360 |
50 |
50~100② |