邮箱:china@gelufu.com
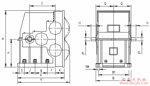
MBYS系列单边双传动磨机减速机外形尺寸
mail:china@gelufu.com
fax:0312-6784733
|
序号 |
型号 |
传递
功率 |
尺寸 |
平均重
量(kg) |
大齿圈 | ||||||||||||||||
|
d1 |
l1 |
Q |
E |
h |
H |
V |
A |
K |
f |
g |
J |
S |
B |
B1 |
Nφ |
模数 |
齿宽 | ||||
|
1 |
MBYS80 |
800kW |
120 |
200 |
675 |
811 |
950 |
2003 |
1524 |
1234 |
290 |
264 |
400 |
345 |
- |
1350 |
1230 |
6-φ60(M56) |
11000 |
16 |
380 |
|
2 |
MBYS100 |
1000kW | |||||||||||||||||||
|
3 |
MBYS125 |
1250kW | |||||||||||||||||||
|
4 |
MBYS140 |
1400kW | |||||||||||||||||||
|
5 |
MBYS160 |
1600kW |
140 |
230 |
748 |
911 |
1060 |
2240 |
1897 |
1705 |
325 |
296 |
450 |
385 |
- |
1496 |
1330 |
6-φ86(M80×6) |
17500 |
18 |
480 |
|
6 |
MBYS180 |
1800kW | |||||||||||||||||||
|
7 |
MBYS200 |
2000kW | |||||||||||||||||||
|
8 |
MBYS225 |
2250kW | |||||||||||||||||||
|
9 |
MBYS250 |
2500kW |
170 |
250 |
875 |
1097 |
1200 |
2420 |
2222 |
1997 |
360 |
347 |
525 |
450 |
- |
1700 |
1480 |
6-φ100(M90×6) |
27500 |
22 |
580 |
|
10 |
MBYS280 |
2800kW | |||||||||||||||||||
|
11 |
MBYS300 |
3000kW | |||||||||||||||||||
|
12 |
MBYS320 |
3200kW | |||||||||||||||||||
|
13 |
MBYS355 |
3550kW | |||||||||||||||||||
|
14 |
MBYS380 |
3800kW |
180 |
295 |
1026 |
1224 |
1450 |
2900 |
2675 |
2425 |
430 |
385 |
590 |
500 |
400 |
2000 |
1780 |
8-φ100(M90×6) |
48500 |
25 |
660 |
|
15 |
MBYS400 |
4000kW | |||||||||||||||||||
|
16 |
MBYS420 |
4200kW | |||||||||||||||||||
|
17 |
MBYS450 |
4500kW | |||||||||||||||||||
|
18 |
MBYS500 |
5000kW | |||||||||||||||||||
|
19 |
MBYS560 |
5600kW | |||||||||||||||||||