传真:0312-6784733
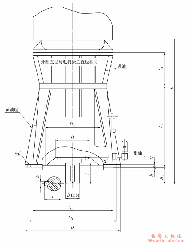
NGW-LDF型立式行星齿轮减速器单级外形及安装尺寸
Tel:0312-6784766
单级减速器外形、尺寸见下图及下表
Mobile:13331225020
电话:0312-6784766
| 机座号 | 型号 及规格 |
公称传 动比i0 |
外形 | 法兰及螺栓孔 | 轴伸 | 重量kg | 油量Oil | ||||||||||||||
| L | L2 | L1 | D1 | H1 | D3 | h | H | D2 | n-d | H2 | D4 | D5 | D | b | t | L | |||||
| mm | |||||||||||||||||||||
| 1 | NGW-LDF11 | 4~5 | 按所 WX:grove_company 配电 机确 定 |
230.5 | 360 | 65 | 280 | 6 | 20 | 325 | 6-18 | 35 | 120 | 150 | 50 | 14 | 53.5 | 82 | 80 | 4 | |
| 5.6~10 | |||||||||||||||||||||
| 2 | NGW-LDF21 | 4~5 | 255 | 385 | 90 | 305 | 6 | 20 | 345 | 6-18 | 35 | 140 | 170 | 60 | 18 | 64 | 105 | 110 | 6 | ||
| 5.6~10 | |||||||||||||||||||||
| 3 | NGW-LDF31 | 4~5 | 285 | 430 | 90 | 330 | 6 | 25 | 380 | 6-18 | 40 | 160 | 190 | 70 | 20 | 74.5 | 105 | 135 | 8 | ||
| 5.6~10 | |||||||||||||||||||||
| 4 | NGW-LDF41 | 4~5 | 315 | 485 | 100 | 385 | 8 | 25 | 435 | 8-22 | 50 | 180 | 215 | 80 | 22 | 85 | 130 | 175 | 12 | ||
| 5.6~10 | |||||||||||||||||||||
| 5 | NGW-LDF51 | 4~5 | 355 | 520 | 100 | 420 | 8 | 30 | 470 | 8-22 | 60 | 200 | 240 | 90 | 25 | 95 | 130 | 265 | 16 | ||
| 5.6~10 | |||||||||||||||||||||
| 6 | NGW-LDF61 | 4~5 | 395 | 605 | 120 | 505 | 8 | 30 | 545 | 8-22 | 60 | 220 | 280 | 100 | 28 | 106 | 165 | 350 | 21 | ||
| 5.6~10 | |||||||||||||||||||||
| 7 | NGW-LDF71 | 4~5 | 440 | 670 | 120 | 570 | 10 | 30 | 610 | 8-22 | 70 | 250 | 320 | 110 | 28 | 116 | 165 | 450 | 30 | ||
| 5.6~10 | |||||||||||||||||||||
①表中重量不包括电机重量。 QQ:47447450
②所配电机型号规格确定后再定L2、L之尺寸。 邮箱:china@gelufu.com