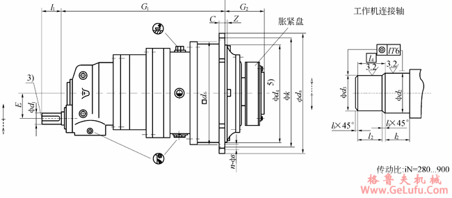
TP系列行星齿轮减速机安装尺寸(传动比280~900)
发布日期:2023-12-28 19:30
浏览次数:
微信:grove_company
TP系列行星齿轮减速机安装尺寸(型号:TP2NAZ)6
微信:grove_company
|
TP2NAZ
机座号 |
额定输出扭矩
T2N
(N.m) |
输入轴尺寸 |
工作机连接轴 |
c |
da |
d4
h7 |
d6 |
E |
G1 |
G2 |
k |
z |
法兰孔 |
重量2)
(kg) |
油量
(l) |
|
d11) |
l1 |
d24)
g6 |
d34)
g6 |
l2 |
l3 |
l4 |
孔径
s |
数量
n |
|
9
10
11 |
22000
31000
42000 |
38
38
38 |
60
60
60 |
120
130
140 |
115
125
135 |
65
70
82.5 |
2.5
2.5
2.5 |
67.5
72.5
85.0 |
24
28
32 |
428
472
525 |
350
394
425 |
356
400
436 |
90
90
90 |
565
585
616 |
165
174
204 |
388
436
485 |
6±1.5
8±1.5
8±1.5 |
18
18
22 |
24
28
20 |
170
230
310 |
7
9
13 |
|
12
13
14 |
60000
83000
117000 |
38
38
38 |
60
60
60 |
160
180
210 |
155
175
205 |
90
95
105 |
2.5
2.5
2.5 |
92.5
97.5
107.5 |
34
39
42 |
605
645
720 |
495
535
610 |
510
554
629 |
90
90
90 |
630
688
711 |
224
241
278 |
555
595
665 |
9±1.5
11±1.5
9 |
26
26
26 |
20
24
32 |
460
584
875 |
17
21
33 |
|
16
17
18 |
160000
202000
244000 |
55
55
70 |
90
90
120 |
230
250
260 |
225
245
255 |
110
120
120 |
2.5
2.5
2.5 |
112.5
122.5
122.5 |
44
50
50 |
770
895
930 |
660
750
785 |
680
775
815 |
115
115
140 |
853
879
1013.5 |
285
294
303 |
715
830
865 |
10
10
10 |
26
33
33 |
36
24
32 |
1115
1625
2060 |
42
60
70 |
|
19
20
21 |
295000
354000
392000 |
70
70
70 |
120
120
120 |
280
300
310 |
275
295
305 |
135
135
152 |
2.5
2.5
2.5 |
137.5
137.5
154.5 |
56
56
62 |
980
980
1115 |
840
840
935 |
870
870
960 |
140
140
140 |
1036.5
1036.5
1093 |
327.5
327.5
354 |
915
915
1025 |
12
12
24 |
33
33
39 |
36
36
32 |
2160
2260
2870 |
85
75
115 |
|
22
23
24 |
450000
513000
592000 |
70
80
80 |
120
140
140 |
330
350
360 |
325
345
355 |
152
164
164 |
2.5
2.5
2.5 |
154.5
166.5
166.5 |
62
68
68 |
1115
1210
1210 |
935
1025
1025 |
960
1056
1056 |
140
170
170 |
1093
1222
1222 |
354
380
380 |
1025
1120
1120 |
24
28
28 |
39
39
39 |
32
36
36 |
3040
3730
4220 |
105
155
135 |
|
25
26
27 |
684000
763000
852000 |
80
80
90 |
140
140
160 |
380
400
430 |
375
395
425 |
180
180
191 |
2.5
2.5
2.5 |
182.5
182.5
193.5 |
74
74
81 |
1320
1320
1460 |
1115
1115
1215 |
1150
1150
1248 |
170
170
200 |
1284
1284
1470 |
407
407
453 |
1220
1220
1345 |
29
29
31 |
45
45
52 |
36
36
32 |
5150
5560
6580 |
195
170
250 |
|
28
29
30 |
950000
1060000
1200000 |
90
90
90 |
160
160
160 |
450
460
480 |
445
450
470 |
191
197.5
197.5 |
2.5
5
5 |
193.5
202.5
202.5 |
81
87
87 |
1460
1565
1565 |
1215
1320
1320 |
1248
1355
1355 |
200
200
200 |
1470
1517
1517 |
453
483
483 |
1345
1450
1450 |
31
34
34 |
52
52
52 |
32
36
36 |
7080
8400
8970 |
220
310
280 |
|
31
32
33
34 |
1330000
1500000
1680000
1920000 |
100
100
120
120 |
180
180
210
210 |
480
510
530
570 |
470
500
520
560 |
232
232
242
242 |
5
5
5
5 |
237.0
237.0
247.0
247.0 |
94
94
100
100 |
1665
1665
1755
1755 |
1400
1400
1495
1495 |
1443
1443
1536
1536 |
230
230
265
265 |
1617
1617
1735
1735 |
538
538
573
573 |
1545
1545
1635
1635 |
36
36
36
36 |
62
62
62
62 |
32
32
36
36 |
11000
11500
13300
14200 |
390
360
470
430 |
|
35
36 |
根据用户要求供货 |
1)当d1≤100时公差为m6,当d1>100时公差为n6
2)不含胀紧盘与润滑油的重量 手机:13331225020
3)有关平键(符合GB/T1095―1979)
www.gelufu.com.cn
4)当尺寸≤160时公差为h6 WX:grove_company