手机:13331225020
TP系列行星齿轮减速机安装尺寸(型号:TP2NAZ)
mail:china@gelufu.com
gelufu
|
TP2NAZ
机座号 |
额定输出扭矩
T2N
(N.m) |
输入轴尺寸 |
工作机连接轴 |
c |
da |
d4
h7 |
d6 |
G1 |
G2 |
K |
Z |
法兰孔 |
重量
(Kg) |
油量
(l) | ||||||
|
d11) |
l1 |
d24)
g6 |
d34)
g6 |
l2 |
l3 |
l4 |
孔径
S |
数量
n | ||||||||||||
|
9
10
11 |
22000
31000
42000 |
55
55
70 |
90
90
120 |
120
130
140 |
115
125
135 |
65
70
82.5 |
2.5
2.5
2.5 |
67.5
72.5
85.0 |
24
28
32 |
428
472
525 |
350
394
425 |
356
400
436 |
469
489
579 |
165
174
204 |
388
436
485 |
6±1.5
8±1.5
8±1.5
|
18
18
22 |
24
28
20 |
145
195
280 |
6
8
12 |
|
12
13
14 |
60000
83000
117000 |
70
80
80 |
120
140
140 |
160
180
210 |
155
175
205 |
90
95
105 |
2.5
2.5
2.5 |
92.5
97.5
107.5 |
34
39
42 |
605
645
720 |
495
535
610 |
510
554
629 |
593
714
737 |
224
241
278 |
555
595
665 |
9±1.5
11±1.5
9
|
26
26
26 |
20
24
32 |
425
540
805 |
16
20
32 |
|
16
17
18 |
160000
202000
244000 |
95
95
110 |
160
160
180 |
230
250
260 |
225
245
255 |
110
120
120 |
2.5
2.5
2.5 |
112.5
122.5
122.5 |
44
50
50 |
770
895
930 |
660
750
785 |
680
775
815 |
851
877
1006 |
285
294
303 |
715
830
865 |
10
10
10 |
26
33
33 |
36
24
32 |
1030
1500
1900 |
40
56
66 |
|
19
20
21 |
295000
354000
392000 |
110
110
120 |
180
180
210 |
280
300
310 |
275
295
305 |
135
135
152 |
2.5
2.5
2.5 |
137.5
137.5
154.5 |
56
56
62 |
980
980
1115 |
840
840
935 |
870
870
960 |
1029.5
1029.5
1046 |
327.5
327.5
354 |
915
915
1025 |
12
12
24 |
33
33
39 |
36
36
32 |
2000
2100
2650 |
82
75
110 |
|
22
23
24 |
450000
513000
592000 |
120
130
130 |
210
210
210 |
330
350
360 |
325
345
355 |
152
164
164 |
2.5
2.5
2.5 |
154.5
166.5
166.5 |
62
68
68 |
1115
1210
1210 |
935
1025
1025 |
960
1056
1056 |
1046
1150
1150 |
354
380
380 |
1025
1120
1120 |
24
28
28 |
39
39
39 |
32
36
36 |
2800
3450
3900
|
95
150
125 |
|
25
26
27 |
684000
763000
852000 |
140
140
150 |
240
240
240 |
380
400
430 |
375
395
425 |
180
180
191 |
2.5
2.5
2.5 |
182.5
183.5
193.5 |
74
74
81 |
1320
1320
1460 |
1115
1115
1215 |
1150
1150
1248 |
1241
1241
1379 |
407
407
453 |
1220
1220
1345 |
29
29
31 |
45
45
52 |
36
36
32 |
4750
5150
6100 |
190
160
245 |
|
28
29
30 |
950000
1060000
1200000 |
150
160
160 |
240
270
270 |
450
460
480 |
445
450
470 |
191
197.5
197.5 |
2.5
5
5 |
193.5
202.5
202.5 |
81
87
87 |
1460
1565
1565 |
1215
1320
1320 |
1248
1355
1355 |
1379
1457
1457 |
453
483
483 |
1345
1450
1450 |
31
34
34 |
52
52
52 |
32
36
36 |
6550
7800
8300 |
205
305
255 |
|
31
32
33 |
130000
1500000
1680000 |
170
170
180 |
270
270
310 |
480
510
530 |
470
500
520 |
232
232
242 |
5
5
5 |
237.0
237.0
247.0 |
94
94
100 |
1665
1665
1755 |
1400
1400
1495 |
1443
1443
1536 |
1607
1607
1683 |
538
538
573 |
1545
1545
1635 |
36
36
36 |
62
62
62 |
32
32
36 |
10200
10700
12350 |
380
315
460 |
|
34
35
36 |
1920000
2240000
2600000 |
180
190
190 |
310
310
310 |
570
600
640 |
560
590
630 |
242
272
272 |
5
5
5 |
247.0
277.0
277.0 |
100
112
112 |
1755
1945
1945 |
1495
1685
1685 |
1536
1720
1720 |
1683
1899
1899 |
573
656
656 |
1635
1825
1825 |
36
40
40 |
62
62
62 |
36
40
40 |
13150
17300
18400 |
380
645
535 |
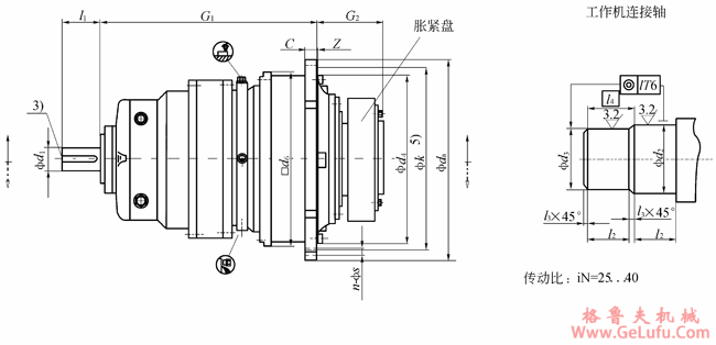
1)当d1≤100时,公差为m6,当d1>100时公差为n6
Tel:0312-6784766
2)不含胀紧盘与润滑油的重量
3)有关平键(符合GB/T1095-1979)与中心孔请参9页
4)当尺寸≤160时公差为h6
Tel:0312-6784766