您好,欢迎进入格鲁夫机械设备制造有限公司官网!
减速机|丝杆升降机|减速电机|行业专用减速机|减速机配件|减速机厂|丝杆升降机厂|转向器厂

联系我们

邮箱:china@gelufu.com
电话:0312-6784766
在线咨询

无极变速器

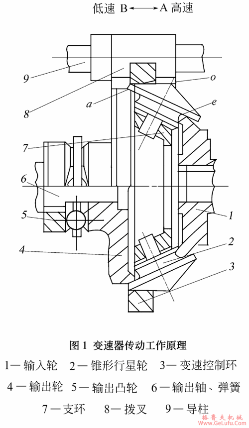
URX系环锥行星式无级变速机传动工作原理

发布日期:2023-12-28 19:49 浏览次数:

URX系环锥行星式无级变速机传动工作原理(图1)

mail:china@gelufu.com

URX系环锥行星式无级变速器传动工作原理

传真:0312-6784733

URX系环锥行星式无级变速机传动工作原理(图2) 手机:13331225020

传动工作原理
URX型无级变速器由输入轮1、锥形星轮2、变速控制环3、输出轮4组成。它是一种差动行星式无级变速器。
当输入轮转动时,锥形行星轮作自转与公转(绕变速控制环轴心旋转)并带动输出轮将二者合成一转动输出。移动变速控制环,可改变锥形行星轮的公转速度。从而达到无级变速目的。当变速控制环向B位置移动时,得到低速输出,最低可达0r/min。向A位置移动时,为高速输出,最高达800r/min。
输出轮有一自动加压机构。当外载力矩增大时,可实现自动加压。由于三点a、o、e接触支持结构,使低速输出力矩较高时有较大增加,从而使无级变速器具有恒功率输出的特性。
URX型无级变速器还可以与B型摆线针轮减速器和蜗轮减速器匹配,以得到低速大转矩输出,和改变出轴方向。

Copyright © 2023-2025 格鲁夫 版权所有 备案号:冀ICP备19023093号-2

电子营业执照图标 电子营业执照
选择语言
Hello,欢迎来咨询~