格鲁夫减速机

|
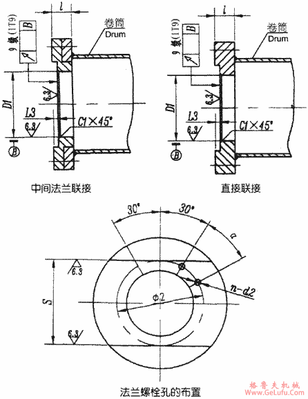
型号 |
L(mm) |
C1(mm) |
S(F8)(mm) |
φ2(mm) |
D1(F8)(mm) |
α(°) |
n-d2(mm) | |
|
DC01A
DC01B |
≥20 |
4 |
360 |
360 |
280 |
30 |
10-18 |
10-M16 |
|
DC02A 邮箱:china@gelufu.com DC02B |
380 |
380 |
310 | |||||
|
DC03A DC03B |
400 |
400 |
340 |
10-22 |
10-M20 | |||
|
DC35A DC35B |
≥25 |
460 |
460 |
400 | ||||
|
DC04A DC04B |
500 |
500 |
420 |
20 |
14-22 |
14-M20 | ||
|
DC05A 手机:13331225020 DC05B |
≥30 |
5 |
530 |
530 |
450 | |||
|
DC55A DC55B |
≥35 |
560 |
560 |
500 |
13.3 |
20-22 |
20-M20 | |
|
DC06A DC06B |
580 |
600 |
530 | |||||
|
DC65A 格鲁夫配件 DC65B |
590 |
615 |
545 |
10 |
26-22 |
26-M22 | ||
|
DC07A DC07B |
600 |
630 |
560 | |||||
|
DC08A DC08B |
≥45 |
640 |
660 |
600 |
26-26 |
26-M24 | ||
|
DC09A Tel:0312-6784766 DC09B |
700 |
730 |
670 | |||||
|
DC10A DC10B |
760 |
800 |
730 | |||||

|
型号 |
l
(mm) |
L3
(mm) |
C1
(mm) |
S(F8)
(mm) |
φ2
(mm) |
D1(F8)
(mm) |
α
(°) |
n-d2
(mm) | |
|
DC01A |
≥25 |
≥10 |
4 |
360 |
360 |
280 |
30 |
10-18 |
10-M16 |
|
DC02A |
380 |
380 |
310 | ||||||
|
DC03A |
400 |
400 |
340 |
10-22 |
10-M20 | ||||
|
DC35A |
≥30 |
≥15 |
460 |
460 |
400 | ||||
|
DC04A |
500 |
500 |
420 |
20 |
14-22 |
14-M20 | |||
|
DC05A |
≥40 |
≥20 |
5 |
530 |
530 |
450 | |||
|
DC55A |
≥50 |
≥25 |
560 |
560 |
500 |
13.3 |
20-22 |
20-M20 | |
|
DC06A |
580 |
600 |
530 | ||||||
|
DC65A |
590 |
615 |
545 |
10 |
26-22 |
26-M22 | |||
|
DC07A |
600 |
630 |
560 | ||||||
|
DC08A |
≥60 |
≥35 |
640 |
660 |
600 |
26-26 |
26-M24 | ||
|
DC09A |
700 |
730 |
670 | ||||||
|
DC10A |
760 |
800 |
730 | ||||||