格鲁夫减速机
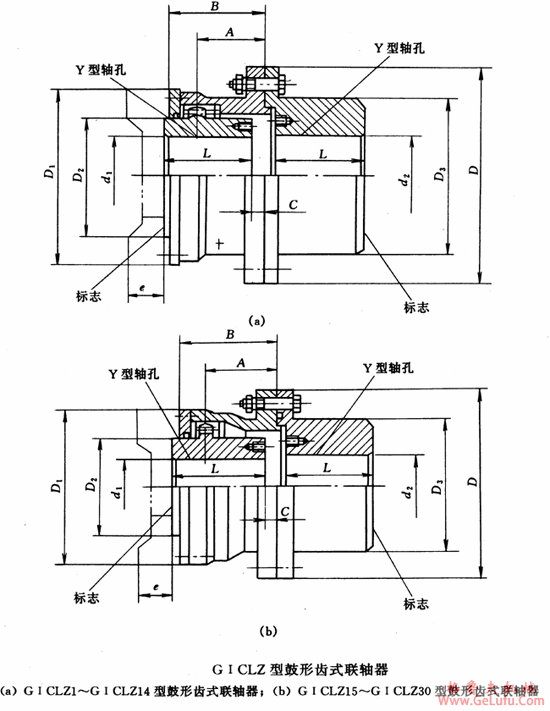
GⅠCLZ型接中间轴鼓形齿式联轴器外形及安装尺寸(JB/T8854.3-99) www.gelufu.com
gelufu.com.cn
|
型号 |
公称转矩Tn
/N・m |
许用转速
[n]/r・min-1 |
轴孔直径
d1、d2 |
轴孔长度L |
D |
D1 |
D2 |
D3 |
B |
A |
C |
e |
润滑脂
用量
/mL |
质量
m/kg |
转动惯量
I/kg・m2 |
|
Y | |||||||||||||||
|
GⅠCLZ1 |
630 |
4000 |
16、18、19 |
42 |
125 |
95 |
60 |
80 |
57 |
37 |
20 |
30 |
30 |
5.4 |
0.0084 |
|
20、22、24 |
52 |
10 | |||||||||||||
|
25、28 |
62 |
2.5 | |||||||||||||
|
30、32、35、38 |
82 | ||||||||||||||
|
40*、42*、45*、48*、50* |
112 | ||||||||||||||
|
GⅠCLZ2 |
1120 |
4000 |
25、28 |
62 |
144 |
120 |
75 |
95 |
67 |
44 |
10.5 |
30 |
60 |
9.2 |
0.018 |
|
30、32、35、38 |
82 |
2.5 | |||||||||||||
|
40*、42*、45*、48*、50*、55*、56* |
112 | ||||||||||||||
|
60* |
142 | ||||||||||||||
|
GⅠCLZ3 |
2240 |
4000 |
30、32、35、38 |
82 |
174 |
140 |
95 |
115 |
77 |
53 |
3 |
30 |
80 |
16.4 |
0.0427 |
|
40、42、45、48、50、55、56 |
112 | ||||||||||||||
|
60、63*、65*、70*、 |
142 | ||||||||||||||
|
GⅠCLZ4 |
3550 |
3600 |
32、35、38 |
82 |
196 |
165 |
115 |
130 |
89 |
62 |
14 |
30 |
90 |
22.7 |
0.076 |
|
40、42、45、48、50、55、56 |
112 |
3 | |||||||||||||
|
60、63、65、70、71*、75* |
142 | ||||||||||||||
|
80* |
172 | ||||||||||||||
|
GⅠCLZ5 |
5000 |
3300 |
40、42、45、48、50、55、56 |
112 |
224 |
183 |
130 |
150 |
99 |
71 |
3 |
30 |
140 |
36.2 |
0.0149 |
|
60、63、65、70、71、75 |
142 | ||||||||||||||
|
80、85*、90* |
172 | ||||||||||||||
|
GⅠCLZ6 |
7100 |
3000 |
48、50、55、56 |
112 |
241 |
200 |
145 |
170 |
109 |
80 |
6 |
30 |
200 |
46.2 |
0.24 |
|
60、63、65、70、71、75 |
142 |
4 | |||||||||||||
|
80、85、90、95* |
172 | ||||||||||||||
|
100* |
212 | ||||||||||||||
|
GⅠCLZ7 |
10000 |
2680 |
60、63、65、70、71、75 |
142 |
260 |
230 |
160 |
190 |
122 |
90 |
4 |
30 |
290 |
68.4 |
0.43 |
|
80、85、90、95 |
172 | ||||||||||||||
|
100、110*、120* |
212 | ||||||||||||||
|
GⅠCLZ8 |
14000 |
2500 |
65、70、71、75 |
142 |
282 |
245 |
175 |
210 |
132 |
96 |
5 |
30 |
350 |
81.1 |
0.61 |
|
80、85、90、95 |
172 | ||||||||||||||
|
100、110、120* |
212 | ||||||||||||||
|
130* |
252 | ||||||||||||||
|
GⅠCLZ9 |
18000 |
2350 |
70、71、75 |
142 |
314 |
270 |
200 |
225 |
142 |
104 |
10 |
30 |
370 |
100.1 |
0.94 |
|
80、85、90、95 |
172 |
5 | |||||||||||||
|
100、110、120、125 |
212 | ||||||||||||||
|
130*、140* |
252 | ||||||||||||||
|
GⅠCLZ10 |
31500 |
2150 |
80、85、90、95 |
172 |
346 |
300 |
220 |
250 |
165 |
124 |
5 |
30 |
500 |
147.1 |
1.67 |
|
100、110、120、125 |
212 | ||||||||||||||
|
130、140、150* |
252 | ||||||||||||||
|
160* |
302 | ||||||||||||||
|
GⅠCLZ11 |
40000 |
1880 |
100、110、120 |
212 |
380 |
330 |
260 |
285 |
180 |
133 |
6 |
40 |
650 |
206.3 |
2.98 |
|
130、140、150 |
252 | ||||||||||||||
|
160、170*、180* |
302 | ||||||||||||||
|
GⅠCLZ12 |
56000 |
1680 |
120 |
212 |
442 |
380 |
290 |
325 |
208 |
156 |
6 |
40 |
1100 |
284.5 |
5.31 |
|
130、140、150 |
252 | ||||||||||||||
|
160、170、180 |
302 | ||||||||||||||
|
190*、200* |
352 | ||||||||||||||
|
GⅠCLZ13 |
80000 |
1530 |
140、150 |
252 |
482 |
420 |
320 |
360 |
238 |
182 |
7 |
40 |
1600 |
402 |
9.16 |
|
160、170、180 |
302 | ||||||||||||||
|
190、200、220* |
352 | ||||||||||||||
|
GⅠCLZ14 |
112000 |
1300 |
160、170、180 |
302 |
520 |
465 |
360 |
410 |
266 |
207 |
8 |
40 |
2300 |
582.2 |
15.92 |
|
190、200、220 |
352 | ||||||||||||||
|
240*、250* |
410 | ||||||||||||||
|
GⅠCLZ15 |
160000 |
1180 |
190、200、220 |
352 |
580 |
510 |
400 |
450 |
278 |
214 |
10 |
40 |
2600 |
778.2 |
25.79 |
|
240、250、260* |
410 | ||||||||||||||
|
280* |
470 | ||||||||||||||
|
GⅠCLZ16 |
250000 |
1000 |
200、220 |
352 |
680 |
595 |
465 |
500 |
320 |
250 |
10 |
50 |
4100 |
1071 |
46.89 |
|
240、250、260 |
410 | ||||||||||||||
|
280、300*、320* |
470 | ||||||||||||||
|
GⅠCLZ17 |
280000 |
980 |
220 |
352 |
720 |
645 |
495 |
530 |
336 |
256 |
10 |
50 |
5100 |
1210 |
60.59 |
|
240、250、260 |
410 | ||||||||||||||
|
280、300、320* |
470 | ||||||||||||||
|
GⅠCLZ18 |
355000 |
900 |
240、250、260 |
410 |
775 |
675 |
520 |
540 |
351 |
262 |
10 |
50 |
6000 |
1475 |
81.75 |
|
280、300、320 |
470 | ||||||||||||||
|
340* |
550 | ||||||||||||||
|
GⅠCLZ19 |
450000 |
830 |
260 |
410 |
815 |
715 |
560 |
580 |
372 |
280 |
10 |
50 |
6700 |
1603 |
101.57 |
|
280、300、320 |
470 | ||||||||||||||
|
340、360* |
550 | ||||||||||||||
|
GⅠCLZ20 |
500000 |
790 |
280、300、320 |
470 |
855 |
755 |
585 |
600 |
393 |
297 |
13 |
50 |
8100 |
2033 |
140.03 |
|
340、360、380* |
550 | ||||||||||||||
|
GⅠCLZ21 |
630000 |
750 |
300、320 |
470 |
915 |
795 |
620 |
640 |
404 |
305 |
13 |
50 |
10500 |
2385 |
183.4 |
|
340、360、380 |
550 | ||||||||||||||
|
400* |
650 | ||||||||||||||
|
GⅠCLZ22 |
710000 |
720 |
340、360、380 |
550 |
960 |
840 |
665 |
680 |
415 |
316 |
13 |
60 |
14000 |
2458 |
235.04 |
|
400、420* |
650 | ||||||||||||||
|
GⅠCLZ23 |
800000 |
680 |
360、380 |
550 |
1010 |
890 |
710 |
720 |
435 |
333 |
13 |
60 |
15000 |
3332 |
323.16 |
|
400、420、450 |
650 | ||||||||||||||
|
GⅠCLZ24 |
1000000 |
650 |
380 |
550 |
1050 |
925 |
730 |
760 |
445 |
342 |
15 |
60 |
16500 |
3639 |
389.97 |
|
400、420、450、480* |
650 | ||||||||||||||
|
GⅠCLZ25 |
1120000 |
610 |
400、420、450、480、500* |
650 |
1120 |
970 |
770 |
800 |
465 |
362 |
15 |
60 |
18000 |
4073 |
485.96 |
|
GⅠCLZ26 |
1250000 |
580 |
420、450、480、500 |
650 |
1160 |
990 |
800 |
850 |
475 |
366 |
15 |
60 |
19000 |
4527 |
573.64 |
|
530* |
800 | ||||||||||||||
|
GⅠCLZ27 |
1400000 |
560 |
450、480、500 |
650 |
1210 |
1060 |
850 |
900 |
479 |
369 |
15 |
70 |
23000 |
5485 |
789.74 |
|
530、560* |
800 | ||||||||||||||
|
GⅠCLZ28 |
1600000 |
540 |
480、500 |
650 |
1250 |
1080 |
890 |
960 |
517 |
402 |
20 |
70 |
24000 |
6050 |
960.26 |
|
530、560、600* |
800 | ||||||||||||||
|
GⅠCLZ29 |
2240000 |
520 |
500 |
650 |
1340 |
1200 |
960 |
1010 |
517 |
396 |
20 |
80 |
26000 |
7090 |
1268.98 |
|
530、560、600、630* |
800 | ||||||||||||||
|
GⅠCLZ30 |
2800000 |
500 |
560、600、630 |
800 |
1390 |
1240 |
1005 |
1070 |
525 |
403 |
20 |
80 |
30000 |
9264 |
1822.02 |
|
670* |
900 |