WX:grove_company

|
|
|
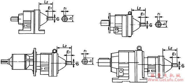
d1 |
E1 |
L2 |
r1 |
t1 |
|
|
JR37 |
AD1 |
16 |
40 |
115 |
5 |
18 |
JR37/JR37
JR47/JR37
JR67/JR37
JR77/JR37 |
|
AD2 |
19 |
40 |
115 |
6 |
21.5 | ||
|
JR47
JR67 |
AD2 |
19 |
40 |
120 |
6 |
21.5 |
JR87/JR47
JR97/JR67 |
|
AD3 |
24 |
50 |
130 |
8 |
27 | ||
|
JR77 |
AD2 |
19 |
40 |
130 |
6 |
21.5 |
JR107/JR77
JR137/JR77
JR147JR77 |
|
AD3 |
24 |
50 |
140 |
8 |
27 | ||
|
AD4 |
38 |
50 |
140 |
10 |
41 | ||
|
JR87 |
AD2 |
19 |
40 |
160 |
6 |
21.5 |
JR147/JR87 |
|
AD3 |
28 |
60 |
180 |
8 |
31 | ||
|
AD4 |
38 |
80 |
200 |
10 |
41 | ||
|
AD5 |
42 |
80 |
200 |
12 |
45 | ||
|
JR97 |
AD3 |
28 |
60 |
200 |
8 |
31 |
JR167/JR97 |
|
AD4 |
38 |
80 |
220 |
10 |
41 | ||
|
AD5 |
42 |
80 |
220 |
12 |
45 | ||
|
AD6 |
48 |
80 |
220 |
14 |
51.5 | ||
|
JR107 |
AD3 |
28 |
60 |
220 |
8 |
31 |
|
|
AD4 |
38 |
80 |
240 |
10 |
41 | ||
|
AD5 |
42 |
110 |
270 |
12 |
45 | ||
|
AD6 |
48 |
110 |
270 |
14 |
51.5 | ||
|
JR137
JR147 |
AD4 |
38 |
80 |
267 |
10 |
41 |
|
|
AD5 |
42 |
110 |
297 |
12 |
45 | ||
|
AD6 |
48 |
110 |
297 |
14 |
51.5 | ||
|
AD7 |
55 |
110 |
297 |
16 |
59 | ||
|
AD8 |
70 |
110 |
297 |
20 |
74.5 | ||
|
JR167 |
AD5 |
42 |
110 |
297 |
12 |
45 |
|
|
AD6 |
48 |
110 |
297 |
14 |
51.5 | ||
|
AD7 |
55 |
110 |
297 |
16 |
59 | ||
|
AD8 |
70 |
140 |
374 |
20 |
74.5 |