您好,欢迎进入格鲁夫机械设备制造有限公司官网!
减速机|丝杆升降机|减速电机|行业专用减速机|减速机配件|减速机厂|丝杆升降机厂|转向器厂

联系我们

邮箱:china@gelufu.com
电话:0312-6784766
在线咨询

减速电机

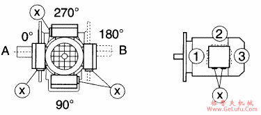
GK系列斜齿轮弧齿锥齿轮减速电机安装形式图例

发布日期:2023-12-28 19:37 浏览次数:

GK系列斜齿轮弧齿锥齿轮减速电机安装形式图例(图1) Tel:0312-6784766

GK系列斜齿轮弧齿锥齿轮减速电机安装形式图例

格鲁夫丝杆升降机

各种安装形式定义为: Tel:0312-6784766

M1―电机水平放置;减速机底脚朝下。
M2―电机居下。
M3―电机水平放置;减速机底脚朝上。
M4―电机居上。
M5―电机水平放置;当减速机在M1安装位置时,从电机方向看,减速机的左面旋转到下方位置。
M6―电机水平放置;当减速机在M1安装位置时,从电机方向看,减速机的左面旋转到上方位置。
安装形式图例 GK37-157/GKAB47-107

GK系列斜齿轮弧齿锥齿轮减速电机安装形式图例(图2) 手机:13331225020

Copyright © 2023-2025 格鲁夫 版权所有 备案号:冀ICP备19023093号-2

电子营业执照图标 电子营业执照
选择语言
Hello,欢迎来咨询~