格鲁夫配件
三相卧式齿轮减速电机 格鲁夫配件
传真:0312-6784733
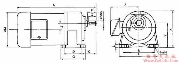
|
功率KW |
减速比 |
框号 |
A |
D |
E |
F |
G |
H |
L |
J |
K |
M |
X |
Y |
Z |
出力轴端 |
重量Kg | ||||
|
P |
Q |
S |
T |
W | |||||||||||||||||
|
0.1
KW |
5~50 |
18 |
255 |
40 |
110 |
135 |
65 |
9 |
10 |
15.98 |
50 |
126 |
127 |
85 |
116 |
30 |
27 |
18 |
20 |
5 |
5.6 |
|
60~200 |
22 |
287 |
65 |
130 |
155 |
90 |
11 |
12 |
17.66 |
60 |
126 |
145 |
90 |
116 |
40 |
35 |
22 |
25 |
7 |
7.0 | |
|
250~1800 |
22 |
357 |
65 |
130 |
155 |
90 |
11 |
12 |
17.66 |
60 |
126 |
145 |
90 |
116 |
40 |
35 |
22 |
25 |
7 |
8.9 | |
|
250~1800 |
28 |
385 |
90 |
140 |
170 |
120 |
11 |
15 |
23.11 |
70 |
126 |
170 |
110 |
116 |
45 |
40 |
28 |
31 |
7 |
11.8 | |
|
0.2KW |
5~10 |
18 |
290 |
40 |
110 |
135 |
65 |
9 |
10 |
15.98 |
50 |
126 |
127 |
85 |
116 |
30 |
27 |
18 |
20 |
5 |
6.4 |
|
12.5~25 |
18 |
290 |
40 |
110 |
135 |
65 |
9 |
10 |
15.98 |
50 |
126 |
127 |
85 |
116 |
30 |
27 |
18 |
20 |
5 |
6.4 | |
|
12.5~90 |
22 |
320 |
65 |
130 |
155 |
90 |
11 |
12 |
17.66 |
60 |
126 |
145 |
90 |
116 |
40 |
35 |
22 |
25 |
7 |
7.9 | |
|
100~200 |
28 |
352 |
90 |
140 |
170 |
120 |
11 |
15 |
23.11 |
70 |
126 |
170 |
110 |
116 |
45 |
40 |
28 |
31 |
7 |
10.3 | |
|
250~1800 |
28 |
419 |
90 |
140 |
170 |
120 |
11 |
15 |
23.11 |
70 |
126 |
170 |
110 |
116 |
45 |
40 |
28 |
31 |
7 |
12.4 | |
|
250~180 |
32 |
469 |
130 |
170 |
210 |
160 |
13 |
18 |
30.22 |
70 |
126 |
210 |
138.5 |
116 |
55 |
50 |
32 |
36.5 |
10 |
24.6 | |
|
0.4KW |
5~10 |
22 |
340 |
65 |
130 |
155 |
90 |
11 |
12 |
17.66 |
60 |
160 |
145 |
90 |
131 |
40 |
35 |
22 |
25 |
7 |
10.6 |
|
12.5~25 |
22 |
340 |
65 |
130 |
155 |
90 |
11 |
12 |
17.66 |
60 |
160 |
145 |
90 |
131 |
40 |
35 |
22 |
25 |
7 |
10.6 | |
|
12.5~90 |
28 |
372 |
90 |
140 |
170 |
120 |
11 |
15 |
23.11 |
70 |
160 |
170 |
110 |
131 |
45 |
40 |
28 |
31 |
7 |
13.0 | |
|
100~200 |
32 |
408 |
130 |
170 |
210 |
160 |
13 |
18 |
30.22 |
70 |
160 |
210 |
138.5 |
131 |
55 |
50 |
32 |
36.5 |
10 |
25.2 | |
|
250~1800 |
32 |
489 |
130 |
170 |
210 |
160 |
13 |
18 |
30.22 |
70 |
160 |
210 |
138.5 |
131 |
55 |
50 |
32 |
36.5 |
10 |
27.6 | |
|
250~1800 |
40 |
564 |
150 |
210 |
256 |
200 |
15 |
23 |
37.96 |
84 |
160 |
248 |
160 |
131 |
65 |
60 |
40 |
44.5 |
10 |
45.2 | |
|
0.75KW |
5~25 |
28 |
390 |
90 |
140 |
170 |
120 |
11 |
15 |
23.11 |
70 |
160 |
170 |
110 |
131 |
45 |
40 |
28 |
31 |
7 |
14.7 |
|
30~100 |
32 |
425 |
130 |
170 |
210 |
160 |
13 |
18 |
30.22 |
70 |
160 |
210 |
138.5 |
131 |
55 |
50 |
32 |
36.5 |
10 |
27.8 | |
|
120~200 |
40 |
480 |
150 |
210 |
256 |
200 |
15 |
23 |
37.96 |
84 |
160 |
248 |
160 |
131 |
65 |
60 |
40 |
44.5 |
10 |
45.2 | |
|
250~1800 |
40 |
580 |
150 |
210 |
256 |
200 |
15 |
23 |
37.96 |
84 |
160 |
248 |
160 |
131 |
65 |
60 |
40 |
44.5 |
10 |
47.7 | |
|
250~1800 |
50 |
631 |
170 |
265 |
330 |
230 |
19 |
30 |
51 |
122 |
160 |
310 |
212 |
~ |
80 |
75 |
50 |
56 |
14 |
60.5 | |
|
1.5KW |
5~30 |
32 |
440 |
130 |
170 |
210 |
160 |
13 |
18 |
30.22 |
70 |
193 |
210 |
138.5 |
142 |
55 |
50 |
32 |
36.5 |
10 |
32.2 |
|
40~100 |
40 |
495 |
150 |
210 |
256 |
200 |
15 |
23 |
37.96 |
84 |
193 |
248 |
160 |
142 |
65 |
60 |
40 |
44.5 |
10 |
47.7 | |
|
120~200 |
50 |
670 |
170 |
265 |
330 |
230 |
19 |
30 |
51 |
122 |
193 |
310 |
212 |
~ |
80 |
75 |
50 |
56 |
14 |
63.4 | |
|
2.2KW |
5~10 |
32 |
470 |
130 |
170 |
210 |
160 |
13 |
18 |
30.22 |
70 |
193 |
210 |
138.5 |
142 |
55 |
50 |
32 |
36.5 |
10 |
35.2 |
|
15~60 |
40 |
525 |
150 |
210 |
256 |
200 |
15 |
23 |
37.96 |
84 |
193 |
248 |
160 |
142 |
65 |
60 |
40 |
44.5 |
10 |
49.1 | |
|
75~100 |
50 |
580 |
170 |
265 |
330 |
230 |
19 |
30 |
51 |
122 |
193 |
310 |
212 |
~ |
80 |
75 |
50 |
56 |
14 |
58.3 | |
|
3.7KW |
5~20 |
40 |
540 |
150 |
210 |
256 |
200 |
15 |
23 |
37.96 |
84 |
236 |
248 |
160 |
190 |
65 |
60 |
40 |
44.5 |
10 |
55.2 |
|
25~60 |
50 |
600 |
170 |
265 |
330 |
230 |
19 |
30 |
51 |
122 |
236 |
310 |
212 |
190 |
80 |
75 |
50 |
56 |
14 |
63.4 | |