微信:grove_company
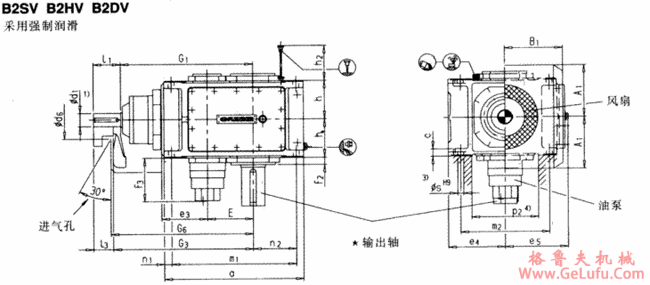
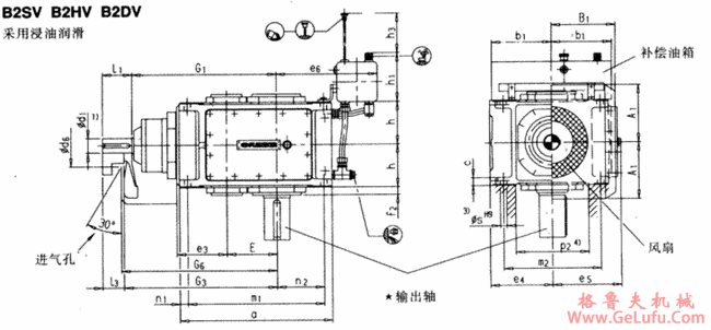
直交轴齿轮箱二级传动立式安装(类型B2.V)
gelufu.com.cn
fax:0312-6784733
www.gelufu.com.cn
fax:0312-6784733
|
规格 |
尺寸mm | ||||||||||
|
输入轴 | |||||||||||
|
iN=5-11.2 |
iN=6.3-14 |
iN=12.5-18 |
G1 |
G3 | |||||||
|
d11) |
l1 |
l3 |
d11) |
l1 |
l3 |
d11) |
l1 |
l3 | |||
|
1 |
28 |
55 |
40 |
|
|
|
20 |
50 |
35 |
300 |
315 |
|
2 |
30 |
70 |
50 |
|
|
|
25 |
60 |
40 |
340 |
360 |
|
3 |
35 |
80 |
60 |
|
|
|
28 |
60 |
40 |
390 |
410 |
|
4 |
45 |
100 |
80 |
|
|
|
|
|
|
465 |
485 |
|
5 |
55 |
110 |
80 |
|
|
|
|
|
|
535 |
565 |
|
6 |
|
|
|
55 |
110 |
80 |
|
|
|
570 |
600 |
|
7 |
70 |
135 |
105 |
|
|
|
|
|
|
640 |
670 |
|
8 |
|
|
|
70 |
135 |
105 |
|
|
|
685 |
715 |
|
9 |
80 |
165 |
130 |
|
|
|
|
|
|
755 |
790 |
|
10 |
|
|
|
80 |
165 |
130 |
|
|
|
805 |
840 |
|
11 |
90 |
165 |
130 |
|
|
|
|
|
|
925 |
960 |
|
12 |
|
|
|
90 |
165 |
130 |
|
|
|
995 |
1030 |
|
规格 |
尺寸mm | |||||||||||
|
齿轮箱 | ||||||||||||
|
a |
A1 |
b1 |
B1 |
c |
d6 |
e3 |
e4 |
e5 |
e6 |
E |
f2 | |
|
1 |
305 |
128 |
150 |
130 |
16±1 |
100 |
90 |
130 |
145 |
280 |
90 |
22 |
|
2 |
355 |
143 |
150 |
145 |
20±1 |
110 |
110 |
145 |
160 |
285 |
110 |
22 |
|
3 |
405 |
163 |
150 |
170 |
24±1 |
120 |
130 |
175 |
185 |
290 |
130 |
24 |
|
4 |
505 |
188 |
150 |
200 |
30±1 |
150 |
160 |
200 |
215 |
320 |
160 |
26 |
|
5 |
565 |
215 |
240 |
235 |
30±1 |
160 |
185 |
230 |
252 |
385 |
185 |
30 |
|
6 |
645 |
215 |
240 |
235 |
30±1 |
160 |
185 |
230 |
252 |
425 |
220 |
30 |
|
7 |
690 |
250 |
240 |
285 |
36±1 |
210 |
225 |
280 |
302 |
425 |
225 |
32 |
|
8 |
795 |
250 |
240 |
285 |
36±1 |
210 |
225 |
280 |
302 |
485 |
270 |
32 |
|
9 |
820 |
270 |
330 |
325 |
48±1.5 |
195 |
265 |
320 |
342 |
560 |
265 |
45 |
|
10 |
920 |
270 |
330 |
325 |
48±1.5 |
195 |
265 |
320 |
342 |
610 |
315 |
45 |
|
11 |
975 |
328 |
330 |
385 |
54±1.5 |
210 |
320 |
380 |
410 |
595 |
320 |
47 |
|
12 |
1130 |
328 |
330 |
385 |
54±1.5 |
210 |
320 |
380 |
410 |
680 |
390 |
47 |
gelufu.com.cn
|
规格 |
尺寸mm | |||||||||||
|
齿轮箱 | ||||||||||||
|
f3 |
G6 |
h |
h1 |
h2 |
h3 |
m1 |
m2 |
n1 |
n2 |
P24) |
s | |
|
1 |
- |
325 |
90 |
165 |
- |
170 |
275 |
210 |
15 |
115 |
150 |
12 |
|
2 |
- |
370 |
102.5 |
165 |
- |
170 |
315 |
230 |
20 |
120 |
170 |
14 |
|
3 |
- |
420 |
112.5 |
165 |
- |
180 |
365 |
265 |
20 |
130 |
200 |
18 |
|
4 |
- |
495 |
135 |
165 |
- |
180 |
445 |
300 |
30 |
160 |
220 |
24 |
|
5 |
190 |
575 |
160 |
205 |
245 |
240 |
505 |
360 |
30 |
175 |
270 |
24 |
|
6 |
190 |
610 |
160 |
205 |
245 |
240 |
585 |
360 |
30 |
220 |
270 |
24 |
|
7 |
200 |
685 |
190 |
205 |
220 |
250 |
620 |
430 |
35 |
215 |
330 |
28 |
|
8 |
200 |
730 |
190 |
205 |
220 |
250 |
725 |
430 |
35 |
275 |
330 |
28 |
|
9 |
200 |
805 |
220 |
275 |
250 |
330 |
740 |
490 |
40 |
260 |
370 |
36 |
|
10 |
200 |
855 |
220 |
275 |
250 |
330 |
840 |
490 |
40 |
310 |
370 |
36 |
|
11 |
200 |
980 |
265 |
275 |
300 |
340 |
875 |
600 |
50 |
295 |
440 |
40 |
|
12 |
200 |
1050 |
265 |
275 |
300 |
340 |
1030 |
600 |
50 |
380 |
440 |
40 |
|
规格 |
尺寸mm |
润滑油 |
重量
(kg) | |||||||||
|
输出轴 |
浸油润滑
(1) |
强制润滑
(1) | ||||||||||
|
B2SV |
B2HV |
B2DV | ||||||||||
|
d21) |
G2 |
l2 |
D22) |
G4 |
D3 |
D4 |
G4 |
G5 | ||||
|
1 |
45 |
120 |
80 |
- |
- |
- |
- |
- |
- |
7 |
- |
65 |
|
2 |
55 |
135 |
110 |
55 |
135 |
60 |
60 |
135 |
180 |
11 |
- |
90 |
|
3 |
65 |
145 |
140 |
65 |
145 |
70 |
70 |
145 |
200 |
16 |
- |
140 |
|
4 |
80 |
170 |
170 |
80 |
170 |
85 |
85 |
170 |
235 |
28 |
- |
235 |
|
5 |
100 |
200 |
210 |
95 |
200 |
100 |
100 |
200 |
275 |
41 |
20 |
360 |
|
6 |
110 |
200 |
210 |
105 |
200 |
110 |
110 |
200 |
275 |
50 |
23 |
410 |
|
7 |
120 |
235 |
210 |
115 |
235 |
120 |
120 |
235 |
320 |
75 |
35 |
615 |
|
8 |
130 |
235 |
250 |
125 |
235 |
130 |
130 |
235 |
325 |
90 |
38 |
700 |
|
9 |
140 |
270 |
250 |
135 |
270 |
140 |
145 |
270 |
365 |
115 |
53 |
1000 |
|
10 |
160 |
270 |
300 |
150 |
270 |
150 |
155 |
270 |
385 |
135 |
60 |
1155 |
|
11 |
170 |
320 |
300 |
165 |
320 |
165 |
170 |
320 |
450 |
190 |
86 |
1640 |
|
12 |
180 |
320 |
300 |
180 |
320 |
180 |
185 |
320 |
455 |
215 |
95 |
1910 |