手机:13331225020

|
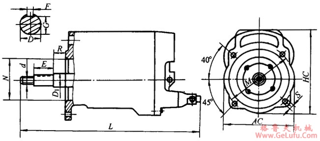
型号 |
D |
E |
F |
G |
D1 |
M |
N |
d |
R |
S |
AC |
HC |
L |
|
YWQ100-2 |
18 |
30 |
6 |
145 |
20 |
180 |
140 |
M12 |
15 |
12 |
185 |
225 |
560 |