微信:grove_company
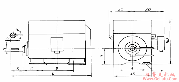
YD450-4/6、YD500-6/8外形尺寸
手机:13331225020
QQ:47447450
gelufu.com.cn
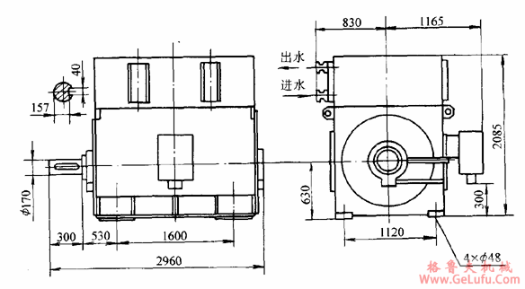
YD500-8/10外形尺寸图
gelufu.com.cn
格鲁夫
注:该尺寸为实际尺寸,为了与JS1510安装尺寸一致 mail:china@gelufu.com
传真:0312-6784733
YD630-8/10外形及安装尺寸图
