您好,欢迎进入格鲁夫机械设备制造有限公司官网!
减速机|丝杆升降机|减速电机|行业专用减速机|减速机配件|减速机厂|丝杆升降机厂|转向器厂

联系我们

邮箱:china@gelufu.com
电话:0312-6784766
在线咨询

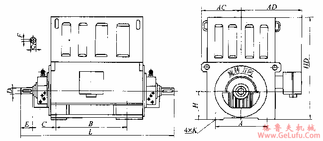
Y系列(IP23)高速三相异步电动机外形及安装尺寸

发布日期:2023-12-28 21:06 浏览次数:

Y系列(IP23)高速三相异步电动机外形及安装尺寸(图1) 格鲁夫减速机

YIP23)外形尺寸图(3000r/min www.gelufu.com

Y系列(IP23)高速三相异步电动机外形及安装尺寸(图2) 邮箱:china@gelufu.com

型号
功率/KW
A
B
C
D
E
F
G
H
K
AC
AD
HD
L
Y355-2
220~400
630
900
315
80
170
22
71
355
28
550
800
1170
1870
Y400-2
450~630
710
1000
375
90
170
25
81
400
35
575
850
1330
2090
Y450-2
710~1000
800
1120
400
100
210
28
90
450
35
650
900
1475
2340
Y500-2
1120~1600
900
1250
560
110
210
28
100
500
42
710
965
1655
2790
Y560-2
1800~2240
1000
1400
560
130
250
32
119
560
42
800
1100
1850
3020
Y630-2
2500~3150
1120
1600
560
140
250
36
128
630
48
900
1200
2050
3220
:中心高H355450mm采用端盖滚动轴承(脂润滑),H500630采用端盖滑动轴承,强迫油循环稀油站,用户自备.

格鲁夫丝杆升降机

Copyright © 2023-2025 格鲁夫 版权所有 备案号:冀ICP备19023093号-2

电子营业执照图标 电子营业执照
选择语言
Hello,欢迎来咨询~