您好,欢迎进入格鲁夫机械设备制造有限公司官网!
|
网站地图
|
Tag标签
|
在线留言
|
联系我们
网站首页
Home
关于我们
ABOUT US
关于我们
售后保障
产品中心
PRODUCT
蜗轮减速机
齿轮减速机
丝杆升降机
减速电机
精密减速机
行业专用减速机
联轴器
摆线针轮减速机
技术文章
NEWS
蜗轮减速机
齿轮减速机
摆线针轮减速机
精密减速机
丝杆升降机
行星齿轮减速机
行业专用减速机
联轴器
减速机相关
问题解疑
减速电机
无极变速器
国外及港台减速机
电机
合作案例
CASE
售后服务
service
在线留言
MESSAGE
联系我们
CONTACT US
技术文章
蜗轮减速机
齿轮减速机
摆线针轮减速机
精密减速机
丝杆升降机
行星齿轮减速机
行业专用减速机
联轴器
减速机相关
问题解疑
减速电机
无极变速器
国外及港台减速机
电机
推荐产品
SL190十字滑
CL12型齿式联
LMZ8带制动轮
YL8型凸缘联轴
联系我们
邮箱:
china@gelufu.com
电话:
0312-6784766
在线咨询
主页
>
技术文章
>
齿轮减速机
齿轮减速机
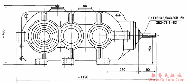
SPJ-800型矿用减速机外型结构尺寸
发布日期:2023-12-28 19:17
浏览次数:
格鲁夫
外型结构尺寸
手机:13331225020
格鲁夫
手机:13331225020
www.gelufu.com.cn
格鲁夫机械
上一篇:SPJ-800型矿用减速机使用与维护
下一篇:DBS系列单边双传动磨机减速机的概述
查看更多 >>
推荐资讯
电机直联型减速机的承载能力及选型系数K(
CWG双级蜗轮齿轮减速器简介,CWG双级蜗轮齿轮减速器特点,CWG双级蜗轮齿轮减速器参数,CWG双级蜗轮齿轮减速器具体型...
FDBY型减速机承载能力ZBJ19026
FDBY型圆锥圆柱齿轮减速机ZBJ19026-90简介,FDBY型圆锥圆柱齿轮减速机ZBJ19026-90特点,FDBY...
WD蜗杆减速机适用范围JB/ZQ4390
WD型圆柱蜗杆减速机(JB/ZQ 4390-79)简介,WD型圆柱蜗杆减速机(JB/ZQ 4390-79)特点,WD型圆...
ANRV系列蜗轮蜗杆减速电动机双级减速机
ANRV系列蜗轮蜗杆减速电动机简介,ANRV系列蜗轮蜗杆减速电动机特点,ANRV系列蜗轮蜗杆减速电动机参数,ANRV系列...
选择语言
×
Українська
Norsk
Cymraeg
Nederlands
日本語
Filipino
English
ລາວ
తెలుగు
Română
नेपाली
Français
Kreyòl Ayisyen
Čeština
Svenska
Русский
Malagasy
မြန်မာစာ
پښتو
ไทย
Հայերեն
简体中文
فارسی
繁體中文
Kurdî
Türkçe
हिन्दी
Български
Bahasa Melayu
Kiswahili
ଓଡ଼ିଆ
Íslenska
Gaeilge
ភាសាខ្មែរ
ગુજરાતી
Slovenčina
ಕನ್ನಡ
עברית
Magyar
मराठी
தமிழ்
Eesti
മലയാളം
Inuktitut
العربية
Deutsch
Slovenščina
বাংলা
اردو
Azərbaycan
Português
Samoan
Afrikaans
Tongan
Ελληνικά
Bahasa Indonesia
Español
Dansk
አማርኛ
ਪੰਜਾਬੀ
Shqip
Lietuvių
Italiano
Tiếng Việt
한국어
Malti
Suomi
Català
Hrvatski
Bosanski
Polski
Latviešu
Māori
Hello,欢迎来咨询~