格鲁夫机械
手机:13331225020


|
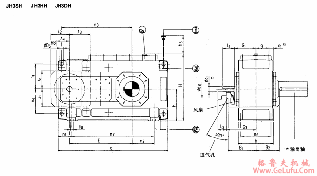
规格 |
尺寸mm | |||||||||||||||||||
|
输 入 轴 | ||||||||||||||||||||
|
iN=25-45 |
iN=31.5-56 |
iN=50-63 |
iN=63-80 |
iN=71-90 |
iN=90-112 |
G1 |
G3 | |||||||||||||
|
d11) |
I1 |
I3 |
d11) |
I1 |
I3 |
d11) |
I1 |
I3 |
d11) |
I1 |
I3 |
d11) |
I1 |
I3 |
d11) |
I1 |
I3 | |||
|
5 |
40 |
70 |
70 |
|
|
|
30 |
50 |
50 |
|
|
|
24 |
40 |
40 |
|
|
|
160 |
220 |
|
6 |
|
|
|
40 |
70 |
70 |
|
|
|
30 |
50 |
50 |
|
|
|
24 |
40 |
40 |
160 |
220 |
|
7 |
45 |
80 |
80 |
|
|
|
35 |
60 |
60 |
|
|
|
28 |
50 |
50 |
|
|
|
185 |
250 |
|
8 |
|
|
|
45 |
80 |
80 |
|
|
|
35 |
60 |
60 |
|
|
|
28 |
50 |
50 |
185 |
250 |
|
9 |
60 |
125 |
105 |
|
|
|
45 |
100 |
80 |
|
|
|
32 |
80 |
60 |
|
|
|
230 |
300 |
|
10 |
|
|
|
60 |
125 |
105 |
|
|
|
45 |
100 |
80 |
|
|
|
32 |
80 |
60 |
230 |
300 |
|
11 |
70 |
120 |
120 |
|
|
|
50 |
80 |
80 |
|
|
|
42 |
70 |
70 |
|
|
|
255 |
330 |
|
12 |
|
|
|
70 |
120 |
120 |
|
|
|
50 |
80 |
80 |
|
|
|
42 |
70 |
70 |
255 |
330 |
|
规格 |
尺寸mm | |||||||||||
|
齿 轮 箱 | ||||||||||||
|
a |
A1 |
A2 |
A3 |
A4 |
b |
B1 |
B2 |
c |
c1 |
D5 |
d6 | |
|
5 |
690 |
137 |
135 |
140 |
80 |
255 |
215 |
175 |
28 |
30±1 |
60 |
24 |
|
6 |
770 |
137 |
135 |
140 |
80 |
255 |
215 |
175 |
28 |
30±1 |
60 |
24 |
|
7 |
845 |
157 |
160 |
180 |
100 |
300 |
245 |
205 |
35 |
36±1 |
75 |
28 |
|
8 |
950 |
157 |
160 |
180 |
100 |
300 |
245 |
205 |
35 |
36±1 |
75 |
28 |
|
9 |
1000 |
182 |
190 |
205 |
120 |
370 |
295 |
240 |
40 |
45±1.5 |
90 |
36 |
|
10 |
1100 |
182 |
190 |
205 |
120 |
370 |
295 |
240 |
40 |
45±1.5 |
90 |
36 |
|
11 |
1200 |
218 |
220 |
255 |
150 |
430 |
325 |
280 |
50 |
54±1.5 |
100 |
40 |
|
12 |
1355 |
218 |
220 |
255 |
150 |
430 |
325 |
280 |
50 |
54±1.5 |
100 |
40 |
|
规格 |
尺寸mm | |||||||||||
|
齿 轮 箱 | ||||||||||||
|
E |
g |
h |
h5 |
H |
m1 |
m3 |
n1 |
n2 |
n3 |
n4 |
s | |
|
5 |
405 |
97.5 |
230 |
130 |
482 |
480 |
220 |
105 |
100 |
455 |
180 |
19 |
|
6 |
440 |
97.5 |
230 |
130 |
482 |
560 |
220 |
105 |
145 |
490 |
180 |
19 |
|
7 |
495 |
114 |
280 |
170 |
572 |
605 |
260 |
120 |
130 |
560 |
215 |
24 |
|
8 |
540 |
114 |
280 |
160 |
582 |
710 |
260 |
120 |
190 |
605 |
215 |
24 |
|
9 |
580 |
140 |
320 |
185 |
662 |
710 |
320 |
145 |
155 |
660 |
245 |
28 |
|
10 |
630 |
140 |
320 |
185 |
662 |
810 |
320 |
145 |
205 |
710 |
245 |
28 |
|
11 |
705 |
161 |
380 |
180 |
782 |
870 |
370 |
165 |
180 |
805 |
300 |
35 |
|
12 |
775 |
161 |
380 |
170 |
790 |
1025 |
370 |
165 |
265 |
875 |
300 |
35 |
|
规格 |
尺寸mm |
润滑油
(I) |
重量
(kg) | ||||||||
|
输出轴 | |||||||||||
|
JH3SH |
JH3HH |
JH3DH | |||||||||
|
d21) |
G2 |
I2 |
D22) |
G4 |
D3 |
D4 |
G4 |
G5 | |||
|
5 |
100 |
165 |
210 |
95 |
165 |
100 |
100 |
165 |
240 |
15 |
320 |
|
6 |
110 |
165 |
210 |
105 |
165 |
110 |
110 |
165 |
240 |
17 |
365 |
|
7 |
120 |
195 |
210 |
115 |
195 |
120 |
120 |
195 |
280 |
28 |
540 |
|
8 |
130 |
195 |
250 |
125 |
195 |
130 |
130 |
195 |
285 |
30 |
625 |
|
9 |
140 |
235 |
250 |
135 |
235 |
140 |
145 |
235 |
330 |
45 |
875 |
|
10 |
160 |
235 |
300 |
150 |
235 |
150 |
155 |
235 |
350 |
46 |
1020 |
|
11 |
170 |
270 |
300 |
165 |
270 |
165 |
170 |
270 |
400 |
85 |
1400 |
|
12 |
180 |
270 |
300 |
180 |
270 |
180 |
185 |
270 |
405 |
90 |
1675 |